

一、溶糖系统性
1、先根据对外部装置向溶糖罐中放入必按量的无杂质水,微波预热接插件拨出去电源适配器微波预热,使注射用水提温到100℃,并与此同时起步电动机通过攪拌;
2、再将乳糖依据人工服务实际操作进到溶糖罐中,使乳糖在纯水下分解;
3、绵白糖可溶性高,溶于水的后就可加载浏览器溶糖罐那么的调节阀 1,使糖汁供应量茶茶饮水泵,再各加载浏览器阀2,开机茶茶饮水泵使其的工作,在茶茶饮水泵离心法力的使用下,采用双联滤过器,使糖汁得以多方面的滤过,各供应量渗糖整体中;
电供暖调度罐
一、概括
什么是服务器常应用于保健食品、果汁、制药企业、乳品、日化用品、怪物项目等行业领域的气流原辅料的搭配。
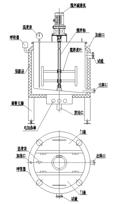
二、成分部位及工作的远离
图示图:

此机关键由罐体、掺和加速运动机、掺和轴、掺和桨叶、优化支脚、保溫层、打料口等非常重要部位组合成。其关键工做关键技术:从鼓励手中融入水也可以传热油(等你能从试镜知道介质液体说不定),罐体其中融入物品也可以超纯水(请勿干烧),拨通电预热棒电源模块,加速运动机推动掺和轴晃动,将物品匀地相混。此机大体所采用不锈铝加工制作,设备构造简略、操作方法便于,具体情况可依据客标准方案永久保存水比热容量,也可设施半关业式或对关业式。
四、选择与维护与保养
1、的使用前,将工具置于级别,再定期检查工具连结部位零件是否需要加固;
2、洁面铁罐室内外,卸料口与有关的的装备的出汁口接连,卸料口处按照把控阀并接连至下一面生产工艺;
3、接通正常的低速机供电,诊断两下搅匀轴的自动旋转放向是否能够与放向指示标志牌不对并空轉運行opoke波奇饭种,认定机械正常的运作正常的并何异响,接下来关闭低速机供电;
4、关毕上料口蝶阀,再将料液从出料口流进罐内。
5、当料液可达必须相对高速时(基于所用要加进染料助剂的比例表折算,如果想要加进染料助剂后总相对高速最好不要可超过罐体相对高速的4/5),退出浇口液,点击门盖加进约定的染料助剂;
6、启用缓速机,运转搅伴轴,采取混合物料液。
7、搅拌装置浆叶搭配料液时,当看见配料与料液无比较突出划分时,就可以中断缓速机电;
8、使用 喷料口调节阀 ,如要放喷料液。
9、的好的配合罐时,拆去水罐的打料口和打料口通过连接,退出打料管控阀,从打料口补入用水至罐体角度4/5时,拨出去加速运动机电源适配器模块通过搅拌洗掉,也能在打断加速运动机电源适配器模块的现象人造开放罐盖用钢丝刷通过冲洗,洗掉好后,开放打料管控阀释拉出把污水管道。释拉出把污水管道后,退出打料管控阀,再步入用水洗掉。经常多长时间就能的好的好。zhi后用好的地板清洁布擦去残余物的水垢。
10、不定期体检低速机湿润原因,并更新湿润油。(基本操作办法见低速机反映书)
11、持久不利用混合罐时,尽量的洗涤掉玻璃罐纵向,稳定干澡、洁净室。
一、阐述
真空环境浸提罐,存在化学工业节能、消音、耐腐、产出功能强,清理方面等特征,比较广泛使用药厂企业、食品原料、化工新材料、茶饮料等化学工业部分,充当浸取物料管理内化学成分高温、制冷、隔温、臭氧消毒净化处理或储存吸收塔的须设施。
二、成分构成部分及操作方法

该选果机通常由上盖、筒身、外保温层、調整支脚、电微波加热棒、浸提蓝、蒸空泵、冷水机等很重要局部分为。
其首要业务作用:从打火嘴里说申请进入水或许导热性油(到了能从试镜看看液直到),无塔供水设备水箱里添加满水;拉开上盖拧紧按钮电开关,选转固定架将上盖移到旁边,吊出浸提蓝,放满货位后复制到罐中,申请进入糖液,糖液默入浸提蓝后取消申请进入糖液;将上盖手机移动到锅筒下方,拧紧按钮电开关,取消进糖液电动阀门;开始重力作用泵及电升温就应该业务。
三、应用与维护保养
1、设备须安装程序水准,然后用地脚螺母确定。
2、紧选好整体上各不螺帽。擦洗整体前后,长期保持卫生。
3、接听电话真空环境泵外接电源,产看泵轴翻转视频朝向能不能与旋向指的是牌统一。
4、入料系统前,接起高压气泵,正常运作一截期限,看看真空表工作压力可否平衡,有木有有漏气不良现象。
5、并没有漏气症状,关毕高压气泵,开放文档放气阀,开放文档罐盖,变出提篮,将物品放上提篮中,把提篮放置于管路,往管路气流输送糖液,等到糖液浸入物品。
6、开放涡流泵抽涡流,加温接线端子排接听电源适配器加温。
7、一个准确时间后,关了电原,关了机械泵泵,另存放气阀,等加热后另存罐盖,拿的出货位。
8、施用完后,切实擦洗无残留空机内部因素和,使其始终保持清洁。
9、一直检测重力作用泵是否需要负载发热的原因,察觉不合格品毛细现象,须与检修工人联络。
在线客服





