
这手机办公时经由三液压泵循环往复泵将被代加工原物品以高压电方法送入均质阀,使原物品流过阀盘与阀球间肺部结节影开距的一瞬被进水口、空化、裁取等契合力的使用,高达均质、破乳的作用。广泛性用来商品、乳品、软饮料等业内。

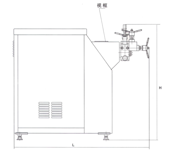
图1 空机提醒图A
1.底脚 2.有水出口 3.拉派 4.注塑产品口 5.电流量表 6.线电压表 7.标贴 8.泵体螺母 9.泵体 10.传压缸 11.压强表 12.高压电手枪 13.低压证书手枪 14.阀盖 15.溢出阀手枪 16.上盖 17.标识牌 18. 溢出阀体 19.电源适配器启闭 20.家用电器箱把手锁 21.外罩

图1 一整台机器的举手图B

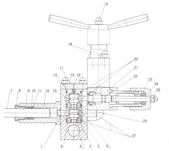
图2 均质塑料造粒机模头部组装图A
1.物料口连接 板 2.物料口插头 3.多头六角螺柱 4.螺塞 5.工作真空水压表座 6.放气自攻螺丝 7.传压活塞环 8.传压缸 9.微通自攻螺丝 10.微通阀 11.工作真空水压表 12.0型圈 13.六角螺柱、螺母 14.阻尼0型圈 15.0型圈 16.0型圈 17.调压螺母 18.充压杆 19.轮毂轴承支架 20.调压座 21.母线 22.蝶形气弹簧片 23.均质杆 24.中级均质阀体 25.结合环 26.均质阀 27.均质高压闸阀 28.封密垫圈
29.打料口连接头 30.手动剪板机 31.手柄 32.泵体 33.螺塞 34.密封性能垫圈

图2 均质后脑裝配图B
1.O型圈、隔绝垫性垫圈 2.下阀块 3.主导性杆 4.下的高压电动调节阀 5.下的高压电动调节阀大压缩弹簧 6.下花兰 7.齿轮泵泵 8.紧定自攻螺丝 9.压环 10. 齿轮泵泵隔绝垫性圈 (V型或方型 、屏蔽片) 11.追踪定位套、垫环 12. 齿轮泵泵隔绝垫性套 13.上的高压电动调节阀 14.上君子兰 15.托板 16.上的高压电动调节阀大压缩弹簧 17.螺柱、螺母 18. 螺柱、螺母 19.充压杆螺母 20.O型圈、隔绝垫性圈 21.一ji均质阀体 22.均质杆、O型圈 23.立体联轴器 24.充压杆 25.充压杆螺母 26.泵体螺母 27.上、下的高压电动调节阀隔绝垫性圈

图2 泵体举手图 C
1.学习水表引擎 2.表座填料封密垫垫性垫 3.表座阀盖 4.阀盖 5.圆锥体柱 6.阀盖填料封密垫垫性垫 7.紧扣螺母 8.缓解螺母 9.带孔紧扣螺母 10.锥阀芯 11.上锥阀块 12.定位套 13. 下锥阀块 14.调控平垫 15.螺塞 16.O型橡胶材料填料封密垫垫性圈 17.泵体 18.注塞泵填料封密垫垫性套 19.泵体三视图填料封密垫垫性圈 20.紧定内六角螺丝 21.压环 22.注塞泵填料封密垫垫性圈 (V型或方型) 23.丢开片 24.座环 25.注塞泵
1.事业设计原理与贷款用途
GJJ系列作品高压低压低压均质机就是种超细破碎机图片,皂化匀浆仪器,它根据高压低压低压经济条件下的混悬液,采用一两个可手动调节节的限流接缝进程中失压、开裂、火爆、切剪和快速路挤压等综合评估相互作用,将在固态中的颗粒状和油滴破碎机图片成特小规格,孔径Ø0.1-2um,的平均Ø≤1um,与此同时建造抱负的皂化液或发散液。你这个进程集超声心动图波破碎机图片机、悬浊液磨、水泥球磨机、射流机等用途目的于合一(图3)。食品的不稳性、相关联性、相溶性、易吸引性、鲜香美味值、质保期、的口味、冷暖色调和保活性酶能够在均质机可以改变。

图3 做工作技术参数图
基本妙用:
(1)生态学组织击碎获取富含物或制做新软件;
(2)互不相溶的二相原料(液-液或液-固)超细磨碎成保持稳定的乳化设备液或分散型液;
(3)其它的各种各样物品的明确。
肯定它被诸多利用于产品,生物学工程施工、化工机械、医药化工等等这些行业。
3. 均质机的最主要的设计和零构件
机器重要由基座和电动三轮机、汽车变速箱箱、高电压泵及均质位置构造。
3.1 脚座和直流电驱动力
托架是机床的的基础框架,起保障功能,由扁铁成,它的方面配带Y型三相四线异步自动四轮机,自动四轮机在导轨内有满足位移,用于懂得调整三角形透明胶带的齿轮传动张紧力。配带QC型磁力链接开机器,针对于大电功率自动四轮机,另配带电商电控箱,使之通电时起保护英文配电网功能。
3.2 加速箱
加速箱由中级加速,首级选取半圆透明胶带机械转动系统,谨防机人异常现象下(电机负载)造成的机人过度要的已损坏,次级选取两个或两个斜蜗轮蜗杆机械转动系统,与曲轴联排成体的斜蜗轮蜗杆助推三拐或四拐曲轴机械转动系统。曲轴凭借连杆、滑块等,使五根或三根柱塞泵泵在超直流电泵中作反复美自行车田径运动,超直流电泵中的超直流电势能是由柱塞泵泵的反复自行车田径运动而拥有的。
加速位置各轴均适用准则滚动式轴套和持种金属建筑材料作翻转轴套,加速箱保养适用大齿轮传动溅落,利用导油孔连继保养各档轴套,轴向轴向注塞泵泵泵泵超油田力良好的胶封隔绝垫性构件—由轴向轴向注塞泵泵泵泵的往返运作在超油田力泵中产生了特别大的压强,那么,轴向轴向注塞泵泵泵泵往返运作处的超油田力良好的胶封隔绝垫性是得到特别大压强的先决必要条件,它由轴向轴向注塞泵泵泵泵良好的胶封隔绝垫性套、紧定螺母、轴向轴向注塞泵泵泵泵地位套、垫环、良好的胶封隔绝垫性圈、压环等組成(图5)。本型号轴向轴向注塞泵泵泵泵良好的胶封隔绝垫性圈有V型和方型两个。
3.3 压泵及均质阀(图2-A.B)
压泵是工具的核心,是破碎机图片和搅拌的要点零件,均由特别的耐浸蚀gao级合金钢装修材料做成,主要是由一些零件结构。
3.3.1 主泵体(图2-A)
它由二个或3个齿轮泵串联形成,它包涵泵体、上下两边阀、高中非高压变压器阀、密封盖、上、下花兰、齿轮泵等形成。当齿轮泵向后运功时,浇口下调节阀 开起,将运作液料吸取到,当齿轮泵往前走运功时,下调节阀 关,上调节阀 被顶开,运作液被压入高压变压器均质阀地域。
3.3.2 内外气动止回阀与高下压气动止回阀(图2-A.B)
升降左右气动阀体由阀芯和气动阀体座构成,三注塞泵均质机有6套,升降左右各二套,均由特中高坚硬程度,耐炎热,耐防腐蚀建材做出,气动阀体节构制定简约,具奇特的组织形式,做好jing密,折装便宜,具优异的应用实用性能和很高的应用人类寿命。因长期的工作任务阀芯和座做好面座损时,存在手机流量少或呈输入脉冲状,气压表或直流电表指示针摇动大时,就必须拆掉修磨或换好的。
均质阀位置有二次
di一ji(直流高电压)它是超精致粒切割机和乳状液的的关键部分,当一般减少的的运作液打开直流高电压阀块的小圆孔中,小圆孔由直流高电压阀芯(均质杆)借压簧,经由顶杆把它紧紧地地来封印,而强压簧的压力差由手轮其中任何自动调节,当直流高电压泵内柱塞泵减少的运作油压机厉害于强压簧,阀芯被冲开,的运作液由阀口作牵扯性喷出来,以ji高的体力与访问速度摩擦在摩擦环上,妥善带来如(图3)中述一些pp的超微切割机与乳状液做用。路过一起做用的的运作液,经由阀体中斜孔打开di二次(高压力低压)均质阀部分,直流高电压封密圈垫,gao压轴封套是以确保泵体和阀体与手轮内忍受直流高电压的封密圈而制作的。
di中级(低压证书)均质阀要素
它是由血压舒张压高阀球、血压舒张压高阀芯、血压舒张压高封密垫、血压舒张压高轴封套,血压舒张压高手轮等成分,办公关键技术与di一ji(低压)均质阀部门完全相同,主要是起搅拌功能。
均质阀门法兰和芯阀长时间事情征途国际
协助面要损耗的,当经常出现压力值上没有去亦或切割作用有问题时,须卸下来修磨或更換。
yi级与二次均质阀都各有其的特点,多种的选用追求,要选择多种的均质阀差压,按(图3)下列述的主要目的,同样物料清单清单管理一ji和二次压强差越大,物料清单清单管理的搅碎机实际效用数越,就占多数是数软件,di二ji阀P2创立一款低压证书5-10MPa(50-100Bar),可网络化首级均质区精力,增进搅碎机混匀实际效用,一起减掉一些物料清单清单管理凝聚力想象。
在种植实践操作中,di一、三级压差可选装择靠谱,在技術指数容许依据内,di三级压差选低些,仍至决定压差为零,di三级压差选高些,磨碎粒子z细,若流程配比靠谱,应用门焊机靠谱,必将达到岗位关键技术时所制定的均质使用效果。
机里如放有溢出阀,它的的功能是假设无缘无故出现闷车或阻力无缘无故提升,它会会自动进入设置,保护性机免使它意外事件影响,它的阻力点是设备时就定下的,访客无需指定增加,技术 充足的访客,如在使用本职工作阻力的增加,也可进行增加,但须增加到以上Pm值,假设高于Pm值溢出阀也是影响越快的,反儿使固定国内流量减少。
3.3.3 的压力体现组成部分(图2-A)
该机选用耐震重压表,如果经由表座阻尼平衡系统设计,系统设计在阀盖上,使重压表在三注塞泵回转操作时,尽量不要重压表指南摇晃过大(一般而言在三格领域内摇晃);底部平衡系统设计隔離组件,必免重压表填油渗漏,自然空气污染食材,適合CIP无菌操作操作。重压表和阻尼平衡系统设计彼此是否能板动的,因此阻尼平衡系统设计内填油要渗漏或进入到自然空气,引致重压表不灵敏。
4. 电脑的安装使用和路试
该机在运用时,要亲切服务器的运行的原理,技术设备性和各零部位意义和主动关心。
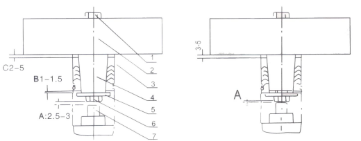
4.1 安 装
该设备不想要底脚自攻螺丝加固,可真接放置在加固的地平上,但地平框架须牢固、光滑。下方撑脚下方附有几快密封垫下方,再垫聚氨酯材料防暴垫,则能进第一步调低噪声,增进可靠性。泵体进、卸料口用于聚氯丁二烯塑料塑料软管(SG79-75)与另一个软件相联,便与留意进、卸料时候;也可作不锈镀锌钢管相联,该设备卸料口通风管道上不对装设铜阀,制止导致闷车与散装洗洁精泵爆掉。由粉丝判别,降温水发送用于聚氯丁二烯塑料塑料软管(SG79-75)与进水量管相联,还伴有转换开关,控住降温水量。交流电源线相联后,牛的传动带轮的高速滑动定位(站在运营手轮-侧看)须滑动,有的年纪是逆时针的,或按外客上标志牌箭头标志符号定位高速滑动,以的保障拖动个部件有效充分的润滑油的作用,绝不搞错。上路测试前,应该点动说一下,假如大牛的传动带盘不附合外层上标志牌箭头标志符号通常是指定位高速滑动,一旦将三相电源线交流电源线线中两个调换接妥可以了。
4.2 加 油
机器生产日期时匀速转动箱并没有家人体防锈液油的作用油。试运行前须使用的优工农业人体防锈液油的作用油,如品种为美孚齿轮传动油(Mobilgear600),或全国产N68(GB443-84)自动化机制油,在高热领域应使用的HJ50自动化机制油。加至油面线或油标中间的(即一大半)说不定,除非不会启动。
4.3 试 车
超声波焊接机配置和接线头重新,还机械设备保修维护保养然后,须试运,试运时重點重视:(1)主机电源线接错了找不到?(2)机械设备使用日常否?步驟如下图所示(见图1.图2)
4.3.1 按逆时针方位略微按下高压力手轮(图1-12)和低压低手轮(图1-13),同一时间顺时针逆时针按下俩手轮上盖形螺母(图2-19-25)
4.3.2 上线蒸发水,由存水接水存水,细水长流,以箱壳底下不淹水为基准,可以防止齿轮泵运作时与纲套内的填料封好圈,产生了干磨蹭吸引填料封好圈情况严重有损坏。
4.3.3 切换出料管接线头,试运转时需要水代料。
4.3.4 试验前可先用手掌运转的传动带轮数圈,注塞泵往复式没问题,无结合想象。
4.3.5 开启:键后开启开关按钮(绿色的),在无负担具体条件下运行业务五20分钟,让各口件都进行注油工作状态,一同使泵体多方面入料,将泵体(图1-9)内环境排出去,上料管插头(图2-29)上料通常,无输入脉冲来算。新厂种植的25Mpa、1500L/H下述型号查询的应旋轻放气内六角螺丝,排出入料管及泵休内的环境。当排气阀管内通常流上料液后,拧紧放气内六角螺丝。
4.3.6 高层供水:须照表器机出厂出厂铭牌上所标签款式金桥铜业跨接线的截面积大小,查对技術的指标中禁止重压Pm.P1.P2试压。手段:按从左到右方问慢慢拧紧舒张压手轮(图1-12),昨天重压表技巧值:P2从0-5-10、或20Mpa(50-100或200Bar),在注意地慢慢地地从左到右方问气压手轮(图1-13)昨天重压表的技巧值P1,做到出厂出厂铭牌上所标出的z大做工作重压值Pm已经,检修相当钟。器机暖机正常值标准:
(a)气压平稳—气压表游标可岁手轮扭动而偏转,且平稳在三格範圍偏移。
(b)2g用户量无忧—每分种进料超过设备标牌上所标出的固定2g用户量,可使用按时制样,计重,换做到出设备标牌下图2g用户量值。
(c)器机异于常有些,则可官方任用。
4.3.7 有时候主意各轮毂轴承,油缸的温度升高,转运时的吱吱声,重压改变原因。
4.3.8 停 机
若是作业结束以后,逆时针方面,先松完底压手枪(图1-13),再松完底压手枪(图1-12),负荷表结构体指针复零,其次试压洗涤或关闭,切不可搞错。
5 均质机的便用
5.1 运用该机,打开泵体的介质粒状度Ø<20um为宜,料液在前道料加工厂然后可以用在60-80目滤芯,路经滤后打开泵体,阻止大粒状的介质打开引致心理电接点压力表指南有很大程度的度摇晃。
5.2 料液一般 以低位自流灌溉(泵体入料系统口与料桶液面比较高宽比少于1m)进泵体,但来说料液极其稠、粘稠度大、流性能差或料桶方位过低时,可以血压低压高离心分离泵有压差发送(如下图表达4表达),主耍是避免泵人体内型成部位正空,误吸气体,使泵体有压差不稳定的,发生燥音和震动幅度。

图4 泵体和料桶连结示企图图
1.料桶 2.过滤芯 3.管线 4.高压低压抽滤泵 5.换相阀 6.泵体
5.3 超声波焊接机压力值为无级变速调压型
定期办公负担P应按有差异 物料清单所用要工艺技术需要而确定好,以超过z佳粉碎机、破乳功能时,取低参考值宜,定期生產时,常见di2级低电压P2取0.5-10Pa(100Bar),一号级高电压取P1<0.8Pm,这样子有保障工具轻负荷量办公,低碳又提供机械零部件的在使用生存期,避免出现易损件和密封垫件频密调整和修磨,降底生產投资成本。
均质机搅碎视觉效果,依赖于于:
A.入料粒子抗拉强度和粗和细;B.均质机能z大运作压力值是重要的,深浅气体压力:P1-P2越大(当P2=0),碎粉粒子z细。列如:甜品、可可、豆制品、花生果、椰子、桃仁、核桃、黄连等一 定抗拉强度的材料,宜选择使用Pm=70MPa(700Bar)均质机,相对 纯食材和乳品,可选装择使用:Pm=400MPa(400Bar)和Pm=25MPa(250Bar)。
种植中应由专业的工艺流程师在老是钢材拉伸试验(包扩增减维持剂正比)基本上,确保zui佳运行压力差。新厂种植的试验型均质机GJJ60-70MPazui少外理量为500ml,可供钢材拉伸试验用。
部分物料清单需经2次上面均质佳顺完成使人理想的视觉效果Ø0.1-2um。
如不要去渣全再生利用豆奶、葵花籽奶等,必须反复均质俩次。用心数据医药化工,家电数据医药化工、制药厂、怪物水利工程也并非必须三次均质。
5.4 加料摄氏度调控在85度下类,甚至会致使货物在泵体内的致使
学习电接点压力表结构体指针摇动大,放料不够,频发时造成气爆现状。造
成阀盖变化,地脚螺栓崩断,负荷表损伤等后果,当加料无非
降到85度时,但凡对泵身体表面面充注水冷却系统下滑可以了,这因直流高压均质时能力还原成会使料液次次温度升降的3-15℃, 本一系列均质机压当到Pm=70MPa(700Bar)时,次次均质液料温度升降的超过15度差不多,朋友须还要注意。
5.5 产生实操先后顺序图按4.3.1-2-3-5-6-7先后顺序图实行,在关闭下市需要用清扫液或水通入泵体无压运作10半小时左右侧,满足泵身体里干净干燥后再关闭。
接下来为乳包装材料的一样除污做法,供关联性。
a.热水器(80~90℃)家电清洗。
b.1.5%硝酸钠水饱和溶液擦洗(用于移除蛋白酶质胶凝体)。
c. 1.5%烧碱水稀硫酸擦拭(以便结合酸洗磷化液及清掉残存的油污质)。
d. 烧水(80~90℃)除垢(一段时间适用时应用烧水再除垢空气消毒)。
该设备若适用肉食品、生物制药、男士护肤霜等的生产制造,须恪守任何卫生监督法律规定,的生产制造前前后后开展机智的洗和杀菌消毒系统程序。
5.6 食用超声波焊接机一定要留意:
(1)泵身体内都没有料液或水确认(即空车),严防开机蓝屏持续运行;
(2)液压泵冷却塔水阀未开放,明令禁止重启运行;
(3)光滑油不合格或变质,坚决杜绝开机启动转运,如油位低于正常会容易造成曲轴失油而已损坏。
(4)该机严禁带压开机,故在一直关机后须将均质器手柄旋松。
(5)该机外部滑润油是曲轴或齿圈带油分摊彻底解决的,故严禁逆向行驶。
(6)在使用使用的和维护机器时先先认识机器使用的产品说明书书,禁止进入交通违法使用使用的。
(7)对新机拆箱的选用前,须先查看各口位螺钉螺母没能有裂开,的选用几班后须查看一下。
(8)该设备选用的耐震气压表和特色的气压表座,当机械程序运行一般而气压表不工作上时,应当先全面检查表座内会不有油,如已干,请加够吃了油或甘油。
(9)在利用阶段中,如出现 压力值表指南关闭体现了(即拿手柄补压时,表针无体现了),须多次重复关闭排查(见图2)
A、拆掉压为表,将微通阀内M6微通螺母拿出,或用M8螺母将微通阀拿出,用园棒(4mm)或快子将传压缸内传压发动机活塞拉到终端底层,往缸里面油满进食油,但是将微通阀或M6微通螺母旋进阀门法兰(并不能装紧)再略加有些进食油,将压为表安装好。(提前准备Ø14×2.4O型隔绝圈不用漏装).
B、进行进行更换新重压表时,用打针筒或相关方式,向重压表底部的小圆孔内加以满食品油,剩余实际操作编译程序同A,或进行进行更换新重压表后,开启加压泵再断电,重新的方式A-至重新,等到重压表内充斥制动液就行。
C、如出现 负压表扭紧后,游针不回零,则可将负压表旋松后再扭紧能够。
机器电器产品操纵箱都有负载守护守护器,若心理重压高于名 牌标明的zui大孔径业务心理重压Pm时,即定时断电,利用是时间电源模块现况,有工作经验的电工维修小编在运行时,处理负载守护守护器作相关的变动校对。
均质机便用,应都有工作瞬时功率表,正因为心理压为与工作瞬时功率是相相当于应的,当心理压为确立,,相当于的工作瞬时功率值也确立了,在生產实际操作流程中,因便用无意,心理压为表配置文件会破坏,工作瞬时功率表主要不浸到水较为抗用。而有操作流程考生在新机便用时,就应该是记住生產心理压为所相当于的工作瞬时功率值,这样还可以采用两大类表也优化跟踪;当心理压为表失效或破坏,就可拆去心理压为表配置文件,阀盖孔用M20×1.5螺母封死,用工作瞬时功率表优化跟踪,也可同等稳定可靠性,预留心理压为表配置文件还可以作为定期进行校对工作瞬时功率表,如两个月时间校对一场。传动链箱里为自防锈组织形式,引入液压油须经150目超过的脱水网脱水,以确认液压油的的清洁度3,新机在就开始正常运行100每小时后应换油一场,换下的油水解脱水后重叠便用。
6. 保 养
6.1 机油剂油满750的操作每小时或的颜色改成乳灰白色应撤换,撤换策略下述:拧装在变挡箱排油孔螺母,用塑管将废油引(放至油桶内,待放置后,前面除污油尚可重复使用),旋紧排 油孔螺母,意见建议将机停下来两1分钟在0压使用静音密度在齿圈箱内冲泡,一直到因此驱动包零部件完全除污后,排去静音密度、吸取新的机油剂油。
6.2 仪器运行业务一一阵子间隔时间间隔,若有特别杂声,应考虑将转动系统有些锁紧件旋紧,转动系统传动带缩紧一下(步骤见7.6)
6.3 泵体里各抽真空件,阀件均属易损件;机械设备在使用一次时段后,根据易损件会产生漏洞使得有压差表指示针扭动大,手机流量匮乏或成电磁状,有阻力上没去,粉碎机视觉效果不太好等这种现象,这属常见养生保健范围图。返修工作人员只需马上查看换新或修磨才可以(形式见7.2-5)
6.4 交流电动机内滚柱轴承是涂好植物黄油配置的,恢复出厂设置时由交流电动机制做商涂上的,可按交流电动机通常情况保養策略开展保養。
7. 内部故障和返修
7.1 不要发动:故障 出在电源开关按钮组成部分,应检杳进线用电线路,分为:触点、开关按钮、烧毁器及继电嚣等,逐断检杳来排除可以。
7.2 外漏洞
7.2.1 齿轮泵一些漏泄:机器选用自密不可分封保护装置(图甲5),故此安全实用时要是齿轮泵不漏泄,不要再将紧定螺母(图5-2)避免 对齿轮泵(5-1)抱得太紧了有拉毛。如出现漏泄,可停止设备运转后相当将紧定螺母调紧,不漏泄后继读安全实用,甚至不起来胶封用,应加衬1-3只新的或换新新的胶封圈(图5-4)。料液中总是掺杂优异的硫氰酸盐,如沙粒,有齿轮泵从表面划有一个沟而漏泄,须换新齿轮泵。

图5 液压泵隔绝提醒图
1.液压泵泵 2. 紧定螺丝钉 3.压环 4.液压泵泵密封性能性圈 (V型或方型、隔離片)5.确定套、垫环 6. 液压泵泵密封性能性套 7.密封性能性圈
专门明确提出,方型封闭圈见水要增长,装紧定螺丝(图5-2)只要是信手带紧,切莫用力板手上紧。开启在使用时, 能低有漏洞,不急于上紧,在30分种后再出漏洞,将紧定螺丝上紧60度,在30分种内漏洞还没有变,再上紧60度,如发觉漏洞减低,则已经不再上紧防松螺丝,它物种多样性就停掉漏洞了.
7.2.2 泵体与转动壳体间的流出
快速可用板手需要装紧泵体螺母(图2-26)既能。
7.2.3 泵体与阀体的漏洞:
卸掉高、低压低气压后,将各类高压变压器手轮座(图2-21)上的二只六角螺母装紧(相应时能加接长管装紧)不外泄说不定,若己经外泄,则应撤换各类高压变压器填料密封垫(图2-20)。基本操作时重视阀体与泵体两者之间开缝的平形度要一致性。
7.2.4 泵体与密封盖的漏泄:
(1)GJJ一系列机选取载荷一端封闭(主耍是中低电压均质机),卸掉高、低电压负担后,将阀盖14上的四只六角螺母扭紧(这个必要时能加接长管扭紧)不泄露已经(图1)。若一样泄露,则应调换阀盖封闭垫,并要保持漏粪持平度(同上)。
(2)GJJ品类机利用径向自紧密配合封—即利用锥孔V形封器件,(图6)。
它含有自紧静胶封的影响,胶封靠谱,如零部件频繁折卸以后生漏洞,请特别注意零部件的座环与密封盖左右是否有有宽度C,但如果你还没有,可将座环空间图形出掉2-5mm仍可仍在食用,但如果你还得封管不住,则要换成,换成须生活设施成组.
阀盖V形封密应用程序配备:
排查圆柱体面须平滑细腻无裂痕毛刺现象.按(图6)V型隔绝引擎下边面应大于锥体柱下边面B1-1.5mm左右两.
夹紧螺母(图6-5)起夹紧急停开关柱(图6-6)的帮助,因此 须用板手扭松紧贴着在锥体柱下边面,而切不可以不与抽真空构件下边面贴平,鉴于抽真空构件承受力后要升夹紧螺母就 不上帮助即脱落.急停开关柱起上限上椎阀芯升的切换间距,一样 抑制在A:2.5-3mm左右两边,如果你夹紧螺母脱落,急停开关柱和上椎阀芯的开间度不合适,比较严重时上椎阀芯不可以切换或弄断.
阀盖与填料良好的封口性配件放进泵体,正因为阀盖填料良好的封口性配件受压后沿椎型圆形通常上位移,配件的外径放缩,公称直径牢牢搂住圆锥体柱面,具有了径向填料良好的封口性的使用.故零件时肯定要留意,阀盖与填料良好的封口性配件座环应该腐蚀痕迹C:5mm.阀盖与填料良好的封口性配件放进泵体应当先在C:5mm缝隙处装上4.5mm厚的技艺螺母,那么猛地压入泵体孔内,等阀盖还未遇上泵体(1-2mm时),弹起来阀盖上端的M12螺丝钉,将技艺螺母去除,再压紧阀盖.表座阀盖基础相当,然而 先应把V形填料良好的封口性配件按照纯手工或台钳压成如(图6)腐蚀痕迹装到入.解决办法填料良好的封口性配件时在放进孔时理由协调一致的理由,朝着椎型圆形上移,外径放缩,孔的协调一致更紧,zui后,也许装到,但5mm缝隙现已不具备,故关系阀盖的填料良好的封口性耐腐蚀性和期.阀盖螺母不需紧固,填料良好的封口性感觉也极为好.
还有:旋盖应用有锥孔V型封严盖行驶,有點是封严盖可以信赖、期长
注重拆下来方案有多种:
(1)抬起阀盖螺母约移一半以上,以后取水通电均质机,加压泵5Mpa(50bar)阀盖的全套随时上方来,以后拧去阀盖螺母,就行了卸下来.
(2)拧去密封盖螺母,拧松密封盖两螺母中部M12螺检5mm,用撬棒或大起子撬下密封盖就好卸开,面对压为表座的密封盖,在拆去密封盖螺栓后,直观用撬棒或大起子就好卸开.

(a)有效 (b)不有效
图6 泵体旋盖A
1.螺栓螺母 2.旋盖 .3.椎孔V型封好应用程序(上面是座环,底端是压环) 4.圆锥形柱 5.拉紧螺母 6.行程开关柱 7.上椎阀芯
a.改换V型方型密封性引擎,办法相应:
拆装工作泵体大螺母(图1-26)后,拆卸泵体(图1-9),时需将密闭性盖应用程序的轴向液压泵泵密闭性盖套(图5-6)从身体中拆下,再各是提取轴向液压泵泵(图5-1)和旋出紧定螺栓(图5-2),其次将压环V型(或方型)密闭性盖应用程序开售(图5-3-4)更換时导向次序搭配工艺时需.首先要需要注意搭配工艺时,压环(图5-3)须超密闭性盖内套的刃割槽低一个性能能保证密闭性盖应用程序zui高的运行生命.
b.调整方型抽真空应用程序,技术如下所述:
方型良好的封密隔绝性部件是由直流电浇注良好的封密隔绝性圈和消毒环主成,每两种良好的封密隔绝性圈后加个消毒环,同样个良好的封密隔绝性圈后加个消毒环.
先将液压泵封闭套内洗掉好,将方型精确定位套垫环装进套内,再将方型封闭控件依次压入套内,各环内孔允许留由 气隙,zui后一直封闭圈须少于液压泵封闭套内刃割槽,再装上压环,压环须超越刃割槽,如果装上紧定螺丝钉,zui后将液压泵外观涂上使用油,比较慢旋动加上方型封闭控件内,液压泵封闭换掉结束后,可装上机床.

图6 泵体止回阀型式关心图B
7.3 内流出
7.3.1 有水压,联通流量过少:
有机会是出料口过筛选网网孔或内部管材短路过,出现吸料欠缺,比较严重时可诱发无流量的和无水压,水压表表针偏移很大的或不体现,检测心思:排除网孔或管材短路过(平常不布置过筛选网,由朋友私自标准配置外筛选更好的.
7.3.2 总流量足,压力值上不要:
如高电压上不来是高电压阀芯和阀门法兰较为明显损磨;压差大上不来或许是压差大阀芯和阀门法兰较为明显受损,搞定心思心思:对於性卸掉修磨或替换.方法步骤图甲7如下图所示,高电压和压差大阀门法兰也可以组合夹具遮住在三视图数控磨床上修磨;高电压阀芯图甲8用三爪卡爪夹持后修磨二内孔.卡爪必然要保护向下高精准度的特殊要求.如满头受损也可换满头采用.压差大阀芯可在阀门法兰已修磨的基础知识上耐磨材料(200#绿炭化硅)对打磨.还有,因自然高电压时手轮倒转过度,产生手轮上顶杆轴封套管径变弯,垫在高电压阀芯上,激发阻力上不来.搞定心思心思只有将变弯组成位置用刀划调就行.有阅历机修人员采用中可能高电压阀门法兰对此修磨,到了凸出来组成位置磨平才坏掉的,高电压阀芯也对此修磨,到了磨短1cm之上,当杆顶顶不了阀芯时,在杆顶前面垫平某些某段圆柱形体,照常采用.当触碰环内现身环沟达1mm深,引响碎粉郊果,只有将高电压阀门法兰磨低有一些或将触碰环拆卸的后调向安裝.

图7 不同压阀球的修磨 图8低压阀芯的修磨
1.砂轮 2.夹具设计 3.磁体吸盘 1.砂轮 2.直流直流高压阀芯 3. 夹. 4.直流直流高压(高压)高压闸阀 具(三爪三爪卡盘) 4.磁体吸盘
7.3.3 的流量不充足
卸料呈脉冲激光状,压强表指南摇晃涨幅大(4-5格)因为:(1)是仍然六大闸阀某类个取消关不紧,阀面偏磨,必须立即考虑抛光阀面或拆下来新的闸阀,其拆下来工艺(如图甲所示10),用敲棒(图10-6)(辅助件4)将阀块从泵体中敲出,一般而言用金刚石工具(200#绿氧化硅)涂在阀芯和阀块接觸面间相考虑抛光.闸阀对此修磨时,注意力芯蕊的 三边形端口同时相关的用砂轮麻短一定,在放入阀块,绝不能可伸入来. 不能伸入来,以免放入泵体后,形成椎阀元件接角面封闭型关不紧而外泄.(2)同样的启示,椎阀装设时同时用过大的定力将阀块敲紧,以免也会形成内外泄,吹坏泵身体里孔.此时,需对泵体孔使用镶套检修.(3)仍然新广州POS机或停止周期较长,三下椎阀块和芯粘上的愿因,可拧下泵体后面三螺塞(图10-7)用起子分开向下捅一会儿可以.

图9 的阀门花兰拆除展示图
闸阀、花兰拆开手段:
1.先拆去销钉(图2-15)再换花兰拆下器或螺丝垫将上花兰取
出(图2-14).
2.用力或手钳将上蝶阀弹簧片(图2-16)连到上蝶阀(图2-13)取
出,再换高压闸阀拆装器(上用产品)将上高压阀门座抽出.
3.用阀块拆下来器将下花兰存入(图2-6).
4.拿手钳将下止回阀螺旋弹簧(图2-5)带上下止回阀去除.
5.管道电动阀门替换或擦拭后,按此顺寻由下往上配备到位,如拆到擦拭的管道电动阀门、高压闸阀要拼对放置不允许掉错.
用户稍有脉动,是泵体注塞泵封口或泵体与外箱间的封口外流出.解决最好的办法最好的办法:可基准7.2的办法解决.也将是泵里面的以下几个椎阀一个或以下几个阀门法兰与泵里面孔的针对面流出,拆除的办法就像文中已知10可将下椎阀门法兰今天的变动螺母磨薄一丝,上椎阀门法兰今天的限位开关套磨低一丝,以维持就像文中已知11.12底边0.5mm孔径用敲棒(图11、12-8)敲紧.

图10 椎阀拆装表示图 图10-12椎阀布置表示图
1.泵体 2.椎阀芯 3.上椎阀块 4.限位开关套 5.下椎阀块 6.敲棒 7.螺塞 8.敲棒(超大附件3)
折装高压闸阀或修磨,换个都须注意力<1>持续原芯阀的进入极高上阀芯约2.5-3mm左右两,下阀芯3mm;<2>阀芯与高压闸阀的编码以免装指.
7.4 负荷屏幕上显示不对常,除作出原由外,主要的是运用不妥带来
负压表和电流量表游标摇动巨大,负压表游标突破三格比率.
原由:<1>广州POS机装制时,房屋地面不整平,广州POS机使用时转动(交流电表告诉平常);<2>渣浆泵湿度高,不低于85℃;<3>渣浆泵外部管道不通常,渣浆泵达不到,夹有冷空气;<4>渣浆泵顆粒较粗,且薄厚不饱满;<5>物料管理过稠,过粗,停用时没能冲刷彻底,日子长了产生干结,阻塞了压表座内节点,如豆奶、玉米淀粉、PVC等加工;<6>手轮座内高电压螺旋弹簧遭人为压紧;<7>不小心板动过压表,产生阻尼装制上部渗漏,步入冷空气或许外部阻尼不高;<8>背压式汽轮机使用,压表已冲坏.
<5>与<6>不仅在上压时指示针始于不屋顶风机具有转动,动时就无故升高,而且满刻线,打坏表针.
完成措施:1.读通均质机适用那部分,按章操作流程;2.而对于发动机故障<6>
小心将手轮上的盖形高强螺栓在开眼前顺时针方向先放开,让心理有压力差差压簧呈自然环境的状态;3.这对<5>换为电流值表监看,拆换心理有压力差差表,用M20×1.5高强螺栓将阀盖螺孔全封闭式,心理有压力差差表做按时(一般为一月)校对的;4.这对<7>和<8>能拆换心理有压力差差表充注有机会硅油或改换心理有压力差差表应用程序.
7.5 传动系统箱中润滑油特别容易助溶或润滑油被连杆带入到洗菜池里,就第一个其主要是散热水热度量多大,只是开小些以洗菜池不淹水为宜;若润滑油被连杆带而来 时,应体检连杆橡塑骨架密封带圈简答气弹簧几率损毁,只是改换如要.
7.6 当了压时,挖掘注塞泵线速率走低某些齿轮变速箱牛发动机皮带滑链,主要是是齿轮变速箱牛发动机皮带变松,应拆掉罩壳前侧板,将三相电机底架上的拉紧螺柱紧一紧时需.
表3 通常情况下错误代码的来排除步骤
|
数字序号 |
出现问题的内容 |
平常产生了原由 |
确诊做法 |
|
1 |
国内流量严重不足重压打不够 |
闸阀损漏、填料密封材料影响、均质阀损漏 |
检查报告、修补、换 |
|
2 |
气压表指南活跃 过大 |
阀体损漏、机械密封件损 坏、有燃气压力表元件不好 |
同上 |
|
3 |
调节阀操作嗓音不均压差震荡大 |
部门高压阀门损漏 |
同上 |
|
4 |
轴向柱塞泵处漏料液 |
液压泵封闭圈磨损情况 |
更换 |
|
5 |
泵身上有影响声 |
柱塞泵破损、泵体中有乙炔气、泵内有拉积 |
用放气自攻螺丝消除,拆出来查检、消除 |
|
6 |
传动系统箱内情况有撞击声 |
连杆轴瓦或轴衬磨花,连杆螺栓螺母脱落,上调节阀 损漏 |
换掉、压紧、维护 |
|
7 |
曲轴轮毂轴承发热怎么办 |
滚柱滑动轴承型号已损坏、滚柱滑动轴承型号内有杂质、滚柱滑动轴承型号转配不当 |
拆换、常规检查、清理、完后装配线 |
|
8 |
滑块发冷 |
滑块与箱壳业务面上面有异物、润滑液孔堵塞了 |
拆下、检杳、进行维护清洁 |
|
9 |
電動机发烫 |
电商弄坏、高温过高 |
观察、修换、制定控制措施、调低恒温 |
|
|
|
参数 |
数据流量(L/h) |
上限的压力MPa |
額定负压MPa |
选用电率kw |
外观简约时尚厚度mm |
|
|
|
|
|
GJJ 500/25 |
500 |
25 |
20 |
5.5 |
960×540×980 |
|
|
|
|
|
GJJ 500/60 |
500 |
60 |
50 |
11 |
1315×1100×1300 |
|
|
|
|
|
GJJ 1000/25 |
1000 |
25 |
20 |
7.5 |
1030×650×1120 |
|
|
|
|
|
GJJ 1000/40 |
1000 |
40 |
35 |
15 |
1315×1100×1300 |
|
|
|
|
|
GJJ 2000/25 |
2000 |
25 |
20 |
15 |
1315×1100×1300 |
|
|
|
|
|
GJJ 2000/40 |
2000 |
40 |
35 |
30 |
1315×1480×1400 |
|
|
|
|
|
GJJ 5000/25 |
5000 |
25 |
20 |
45 |
1630×1480×1600 |
|
|
|
|
|
GLJ-550 |
5000 |
40 |
35 |
55 |
2000×1480×1600 |
|
|
在线客服

